|
|
 |
 |

|
| |
ЛАЗЕРЫ НА ОРГАНИЧЕСКИХ КРАСИТЕЛЯХ В ТОПОГРАФИИ И ТОПОГРАФИЧЕСКОЙ ИНТЕРФЕРОМЕТРИИ
Л.В.Танин
Приведены данные о когерентных свойствах излучения лазеров на красителях с ламповой и лазерной накачкой, а также рассмотрены возможности и эффективность применения лазеров на красителях (непрерывных и импульсных) для ряда задач статической, динамической голографии и голографической интерферометрии.
По мере того как совершенствовалась лазерная техника, расширялись возможности применения топографии для решения научных и технических задач. Свойства лазеров как источников излучения для оптической голографии и до сих пор являются во многом определяющими, когда встает вопрос о практической реализации того или иного голографического метода, о повышении диапазона чувствительности и т.д. . В связи с этим значительный интерес для телеграфии и голографической интерферометрии представляют лазеры с перестраиваемой частотой излучения, примером которых являются лазеры на органических красителях.
Впервые генерация на растворах красителей была подучена в 19 66 году в СССР, а также в США и ФРГ. Большой вклад в разработку и создание этих лазеров внесли Б.И.Степанов, А.Н.Рубинов, В.A.Мостовников. Лазеры на растворах красителей представляют собой особый класс оптических квантовых генераторов /1,2/. Обладая широкими полосами усиления, органические красителя позволяют осуществлять плавную перестройку частоты в широкой спектральной области (до 100 нм на одном типе красителя). При возбуждении мощным излучением моноимпулъсных лазеров или их гармоник генерирует несколько сот красителей, перекрывая (практически полностью)
- 195 -
область спектра от 280 до 1200 нм. При этом преобразование излучения накачки в излучение генерации красителей составляет несколько десятков процентов, а в некоторых случаях достигает 70%. Возбуждая растворы органических красителей излучением импульсных ламп, оказалось возможным получить генерацию в области спектра 400-700 нм. при энергии излучения до 102дж. Наряду с изучением физических процессов, происходящих в активном веществе в режиме генерации и расширения класса генерирующих веществ, существенное влияние уделяется в .последнее время вопросам стабилизации частоты и уменьшения ширины линии генерации. В настоящее время эта проблема, по-видимому, является одной из важнейших в области исследования лазеров на красителях. Об этом красноречиво говори" большое количество появившихся статей,посвященных этому вопросу. По этому не претендуя на обзор работ в этом направлении, коротко рассмотрим лишь наиболее характерные методы селекции частоты.
Для селекции частоты излучения широко используются дисперсионные резонаторы, которые характеризуются высокой селективностью спектральной добротности в пределах полосы усиления активного вещества. Изменение добротности достигается с помощью оптических селектирующих элементов, помещаемых в резонатор. Управление спектральной добротностью резонатора осуществляется наклоном дифракционной решетки или интерферометра Фабри-Перо относительно оси резонатора, изменением базы интерферометра, поворотом призмы . Получение более узких линий связано с использованием систем из нескольких интерферометров или нескольких призм, или комбинаций разных селектирующих элементов в резонаторе лазера: призмы и интерферометров ,решетки и интерферометров, призмы и решетки, призмы решетки и интерферометров и др. Наиболее узкая линия генерации 10-8 нм была получена в дисперсионном резонаторе лазера на родамине 6G, включающем две призмы, два интерферометра Фабри-Перо и селектор Фокс-Смита. Как правило, сужение спектра сопровождается значительным уменьшением энергии генерации. При использовании таких источников света для задач голографии в каждом конкретном случае следует искать компромисс между длиной когерентности и энергией генерации. По-видимому, наиболее приемлемыми с этой точки зрения с учетом технических возможностей являются лазеры на красителях с шириной линии 10-2- 10 -3 нм. (длиной когерентности
- 196 -
3¸
30 см) и энергией генерации 10-1 - 10 2-3. Такие источники обеспечивают необходимую для широкого круга голографических исследований временную когерентность излучения при значительной выходной энергии и мощности. Указанным требованиям в значительной степени удовлетворяет лазер на растворах органических соединений "Радуга-6", разработанный в Институте физики АН БССР /4/.
Пространственная когерентность излучения лазеров на растворах органических красителей.
Для того чтобы объективно судить о возможности использования лазеров на растворах красителей в голографических исследованиях, необходимо прежде всего знать их пространственную когерентность излучения. Первые работы по исследованию пространственной когерентности излучения лазеров с ламповой /5/ и лазерной /6/ накачкой были опубликованы в 1974 году.
Для измерений степени пространственной когерентности чаще всего используют интерференционные дифракционные и голографические методы. Для предварительной оценки пространственной когерентности излучения лазера на красителях удобно использовать интерференционный метод, предложенный Ю.И.Островским /7/ . Использование в этом методе интерферометра Маха-Цендера позволяет проводить исследования пространственной когерентности излучения, имеющего низкую временную когерентность, поскольку есть возможность тщательно выровнять оптическую разность хода. Следовательно, этот метод дает возможность определения пространственной когерентности излучения лазеров на красителях, имеющих ширину спектров генерации ~ 10 нм. (длина когерентности 3·10-3 см). Так например, исследования пространственной когерентности лазера на растворе родамина 6G с лазерной накачкой проводились при различных комбинациях селектирующих элементов в резонаторе (см. рис.1,2). Оптическая накачка спиртового раствора родамина 6G, находящегося в кювете 8, осуществлялась второй гармоникой рубинового лазера 1,3,4, который работал в режиме модулированной добротности с пассивным затвором 2. В экспериментальных исследованиях плавная перестройка линии генерации в интервале 550-620 нм и ее селекция производилась дифракционной решеткой 7 и интерферометром
- 197 -
Фабри-Перо 9.

Рис.1. Оптическая схема лазера на красителях с лазерной накачкой. 5 - кристалл КDР, 6 - светофильтр, подавляющий излучение основной частоты. 10 - выходное зеркало, 11м - цилиндрическая линза.
Исследуемый интервал концентраций спиртового раствора родамина 6G соответствовал коэффициентам поглощения 9¸
40-1 см для l
= 347,2 нм. Ширина спектра генерации в зависимости от селективности резонатора составляла 0,01¸
10 нм. Результаты проведенных экспериментов показали, что зона пространственной когерентности излучения лазера на красителе имела диаметр 1,2 мм (40% от всей генерирующей области торца по уровню 0,2).
Одним из наиболее эффективных методов для исследования пространственной когерентности излучения лазеров на красителях является голографический метод, предложенный Ю.Н.Денисюком и Д.И.Стаселъко /8/. Этот метод дает возможность получить своеобразный портрет функции пространственной когерентности излучения с неустойчивой модовой структурой.
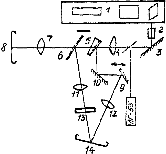
Для записи функции пространственной когерентности излучения лазера (на красителях с лазерной накачкой) голографическим методом на пленку 14 и диффузный экран 13 проектировался с пятикратным увеличением его торец (см. рис.3). Вблизи торца лазера 1 помещалась прямоугольная диафрагма 2, размером 2х3 мм2, которая позволяла связать координаты точек торца лазера на голограмме, диффузном экране и восстановленном изображении. Регистрация голограмм производилась на пленке типа "Микрат 900".
- 198 -
а) 
б) 
в) 
г) 
д) 
Рис.2. Спектры генерации лазера на красителе родамине 6 с лазерной накачкой.
а - неселективный резонатор (зеркало R = 100%, R = 60%, длина резонатора –20 см); б - селективный резонатор (дифракционная решетка, выходное зеркало, два импульса при последовательном наклоне интерферометра Фабри-Перо); в - селективный резонатор (дифракционная решетка, выходное зеркало R = 60%, интерферометр Фабри-Перо, 4 импульса при последовательном наклоне интерферометра Фабри-Перо); Г - двухчастотный режим генерации; д - четырехчастотный режим генерации.
- 199 -

Рис.3. Схема получения голограмм для определения функции пространственной когерентности. 3,5,10 - поворотные зеркала; 4,11,12 - линзы, проектирующие изображение торца лазера вместе с прямоугольной диафрагмой на голограмму и диффузный экран; 6,9 - система подвижных зеркал для выравнивания разности хода объектного и опорного пучков; 7 - линза, проектирующая на пленку 8 распределение интенсивности по торцу лазера; лазер ЛГ-55 служит для юстировки схемы.
Интенсивность JM(R) в изображении диффузного экрана, восстановленном калым участком голограммы с координатами r определяется исходным распределением J(R), промодулированным квадратом функции пространственной когерентности g
:
JM(R) = CMJ(R)·|
g
(г,R)|2
где С M - множитель, который зависит от условий записи голограммы
- 200 -
и восстановления изображения и характеризует эффективность этого двухэтапного процесса преобразования. Таким образом, зная исходное распределение интенсивности в восстановленной изображении определяем величину g
|(r,R)|
2. Результаты исследования когерентных свойств излучения лазера на спиртовом растворе родамина 6G с лазерной накачкой показали (см. рис.4а,б), что из всей генерирующей площади его торца 2х3 мм2 (энергия накачки 0,04¸
0,05 дж) зона пространственной когерентности (по уровню 0,2) занимает площадь 1,3х1,3 мм2.

а) б) д) е)

в) г) ж) з)
Рис.4. Распределение интенсивности но торцу лазера для точек, лежащих на двух взаимноперпендикулярных прямых ℓ и h, пересекающих центр торца лазера, относительно точки их пересечения: пунктирная линия - интенсивность JM(R) восстановленного изображения торца лазера; сплошная линия - исходное распределение интенсивности по торцу лазера J(R), полученное при микрофотометрировании; а,б - соответствует Е = 0,04дж; д,е – Е = 0,03 дж, где Е - энергия накачки; в,г,ж,з -рассчитанная по этим интенсивностям JM(R) и J(R) нормированная степень пространственной когерентности соответствующих точек торца лазера относительно его центральной точки.
- 201 -
При энергии Е = 0,03 дж (рис.4 в,ж) эта зона сужается до 0,8мм (сравнение приводится для точек, лежащих на одной оси ℓ). Функция пространственной когерентности имела один максимум. Размеры когерентной зоны от импульса к импульсу практически не изменялись (при энергии накачки Е = 0,04 дж). Зависимость размеров зоны от концентрация (в исследуемой интервале концентраций, соответствующих коэффициентам поглощения 10¸
18 см-1 для l
=347,2 нм) при постоянном уровне энергии 0,04 дж проявлялась слабо. В то же время наблюдалось изменение размеров зоны когерентности в направлении распространения импульса накачки от энергии накачки. Размер зоны когерентности был наибольшим при энергии накачки Е = 0,04¸
0,05 дж и составлял 1,3х1,3 мм2, при энергии накачки 0,01 дж он резко уменьшался до 0,2 мм2. На рис.4 пунктирной линией показано распределение интенсивности в восстановленном изображении диффузного экрана, которое также является характеристикой когерентности.
Излучение лазеров на спиртовых растворах красителей с ламповой накачкой (рис.5) имеет невысокую степень пространственной когерентности.

Рис.5. Оптическая схема лазера на красителях с ламповой накачкой. 1,2 - зеркала резонатора; 3 - кювета с раствором красителя; 4 - диффузный отражатель; 5 - импульсные лампы типа ИФП.
Основной причиной этого , по-видимому, являются значительные термо-оптические искажения, возникающие в растворах под действием излучения накачки. Повышение пространственной когерентности излучения достигается обычно использованием импульсов накачки малой длительности (~ 1мксек). Однако применение таких импульсов приводит к
- 202 -
значительному снижению энергии накачки. В работе /9/ исследовалась возможность уменьшения термооптических искажении растворов при сравнительно длительной накачке ³
10 мксек. Показано, что при использовании в качестве растворителя тяжелой волы, симметричной системы накачки, фильтров, отсекающих ультрафиолетовое излучение накачки, наведенные оптические неоднородности могут быть доведены до минимальных значений. Это позволило повысить степень пространственной когерентности излучения, однако в плоскопараллелъном резонаторе области с высокими значениями g
³
0,7 занимали лишь отдельные участки торца лазера. Как было показано позднее /10/, для увеличения зоны пространственной когерентности излучения лазеров с ламповой накачкой эффективно использование неустойчивого резонатора. На рис.6 представлены значения нормированной зоны пространственной когерентности излучения лазера на красителях с ламповой накачкой.

а) б)
Рис.6. Распределение нормированной функции пространственной когерентности ФПК излучения лазера на водных растворах родамина 6G с неустойчивым 1,3 и плоским 2,4 резонатором при ламповом возбуждении. ФПК построена вдоль горизонтальной (а) и вертикальной (б) осей относительно точек на торце лазера, обозначенных кружками.
Применение лазеров на красителях в голографии и голографической интерферометрии
Основной особенностью лазеров на красителях является возможность управления спектральными характеристиками генерации в широком диапазоне длин волн. Это прежде всего, плавная перестройка частоты
- 203 -
излучения, изменение ширины спектра излучения, получение одновременной генерации нескольких длин волн с регулируемым интервалом между ними, управление числом компонент спектра генерации и изменение их интенсивности по отношению друг к другу. В настоящее время имеется целый ряд задач, эффективность решения которых связана с использованием когерентных источников излучения с перестраиваемой частотой. К ним относятся: голографическое исследование рельефа поверхности с использованием одночастотного и многочастотного режима генерации, исследование возможности повышения чувствительности метода голографической резонансной интерферометрии, исследование условий записи динамических амплитудно-фазовых голограмм в резонансных средах. Проблема,связанная с возможностью получения многочастотного режима генерации, который характерен в основном для лазеров на красителях, является достаточно серьезной и представляет значительный интерес для голографической интерферометрии. Здесь многочастотный режим генерации означает одновременную генерацию нескольких спектральных линий. При этом интервал между длинами волн генерации может быть произвольно выбран (например, изменение базы интерферометра Фабри-Перо внутри резонатора лазера на красителе). Одночастотному режиму при такой терминологии соответствует генерация одиночной линии.
Перспективным применением лазеров на красителях является, по-видимому, запись голограмм трехмерных объектов во встречных пучках при перестройке частоты их излучения, что представляет интерес для цветной голографии. Предварительные эксперименты по записи таких голограмм были проведены /11/. При этом использовалось излучение лазера на родамине 6G с лазерной накачкой с длинами волн в интервале 550-620 нм, и с шириной линии генерации 0,01¸
0,03 нм. В качестве объектов исследования были выбраны поверхности сферы и цилиндра, рельефные значки. Запись производилась на фотопластинках типа "Микрат ЛОИ-2". Восстанавливающим источником света служил осветитель ОИ-19. На рис.7 представлена фотография восстановленного изображения.
Одним из методов голографической интерферометрии является запись голограмм с использованием перестраиваемого одночастотного и многочастотного режима генерации. Как известно, голограмма поверхности,
- 204 -
полученная в двухдлинноволновом режиме (от двух независимых лазеров), при восстановлении волнового фронта дает контуры рельефа поверхности.

а) б)
Рис. 7. Восстановленное голограммой изображение проволочной сетки (а) с диффузным освещением и изображение трёхмерного объекта (б).
Следовательно, перестраивая длину волны лазера на красителе с эквидистантным шагом и, записывая при этом голограмму объекта методом нескольких экспозиций, получим, согласно /12/, контурные линии равной глубины. Причем поскольку расстояние между соседними контурными линиями однозначно связано- с интервалом между длинами волн, участвующими в записи голограммы, то изменение этого интервала генерации от 0,01 до 30 нм (на одном типе красителя) приведет, следовательно, к изменению глубинного расстояния, соответствующего одной полосе от 1см до 6 мкм. Такая запись голограмм мало чем отличается от записи с помощью иммерсионного метода: разница лишь в том, что в одном случае в интервале между экспозициями изменяется длина волны, в другом - показатель преломления жидкости или газа. Общим недостатком обоих методов записи является то, что они пригодны лишь при исследованиях рельефа статических поверхностей.
- 205 -
При записи голограммы в режиме одновременной генерации нескольких эквидистантных спектральных линий на стадии восстановления появляются более узкие интерференционные полосы, возникавшие вследствие многолучевой интерференции света. В последних работах Шмидта и др. /13/ был использован лазер на красителе непрерывного действия мощностью 10 - 100 мвт с накачкой от аргонового лазера. При помещении эталонов Фабри-Перо различной толщины в резонатор этого лазера возбуждалась одновременная генерация излучения на нескольких длинах волн. Используя схему с наклонным опорным пучком, эти авторы получили оконтуривание объектов (см. рис.8).

а) б )
Рис.8. Голографические контурные линии на игрушечном пропеллере. Разность глубин между двумя соседними линиями составляет 1,5 мм (а) и 0.37 мм (б).
Основным недостатком данной схемы записи является наличие дисперсии голограммы, что приводит к поперечному смещению восстановленных изображений, соответствующих разным длинам волн. При этом искажаются контуры рельефа, а также смещается плоскость локализации полос на значительном расстоянии от поверхности. Для голографирования рельефа поверхности в исследованиях, проводимых ФТИ и Институтом физики АН БССР был использован метод встречных пучков, при котором автоматически исключалось дисперсионное смещение интерференционных полос, характерное для наклонных пучков /14/. В многочастотном режиме лазера
- 206 -
на красителе родамине 6G с лазерной накачкой, генерирующего четыре эквидистантных спектральных линии, проведено исследование рельефа поверхностей сферы, цилиндра, клина с глубинным расстоянием 100 мкм между соседними контурными линиями (см. рис.9).

а) б)

в) г) д)

е)
Рис.9. Восстановленные голограммой контуры рельефа поверхностей. а,б – цилиндра; в – клина; г,д – сферы; е – спектра излучения лазера на красителе.
- 207 -
Ширина каждой спектральной компоненты, участвующей в записи голограммы 0,01-0,03 нм, интервал между линиями генерации 1,8 нм. Этот режим достигался при введении в резонатор лазера интерферометра Фабри-Перо с базой 100 мкм. При восстановлении голограммы источником со сплошным спектром излучения наблюдались контуры рельефа поверхностей. Полуширина интерференционного максимума менялась обратно пропорционально количеству интерферирующих пучков. В случае 4-х пучков полосы уже двулучевых в два раза. Результаты восстановления показали, что для сферы восстановилось 10 контурных линий, для цилиндра - 15, для клина - 9, что соответствует полной глубине рельефа поверхности, измеренной с помощью микрометра (от основания до огибающей), которая для сферы равна - 1 мм, для цилиндра - 1,5 мм, для клина - 0,9 мм. По числу контурных линий, их форме и расстоянию между ними можно определить форму поверхности, рассчитать угол клина и т.п.
К числу первых применений лазеров на красителях относятся исследования низкотемпературной плазмы методом резонансной интерферометрии и голографии /15/.
Метод резонансной интерферометрии позволяет исследовать пространственное распределение отдельной компоненты плазмы без искажающего влияния остальных. Другими словами, он позволяет раз -делить вклад частиц разного сорта в общий показатель преломления плазмы. Основным содержанием метода является то, что его чувствительность определяется величиной рассогласования частоты зондирующего плазму излучения относительно частоты соответствующего атомного перехода. Наличие когерентного источника света с плавно перестраиваемой длиной волны при записи резонансных интерферограмм позволяет управлять чувствительностью метода интерферометрии и расширить границы его применимости. Результаты исследований, проведенных в ФТИ им. А.Ф.Иоффе (сектор оптики плазмы) особенно наглядно подтверждают преимущества лазеров на красителях в реализации этого метода. Так, например, в экспериментах по определению концентрации атомов натрия был использован лазер на родамине 6G , длина волны которого подстраивалась к длине волны резонансного перехода натрия 589 и 589,6 нм (см. рис.10).
- 208 -

Рис.10. Перестройка частоты генерации вблизи резонансного дублета натрия. Длина волны генерации: а - 5897 Å; á - 5893 Å; â - 5890 Å; ã - 5884 Å.
При определении концентрации возбужденных атомов водорода в лазерной искре или при изучении лазерного факела на мишени , содержащей литий, производилась замена генерирующего раствора красителя, что было обусловлено другой длиной волны резонансной линии лития (670,7 нм) и водорода Нa
(656,3 нм.). Эти исследования позволили резко расширить круг изучаемых компонент плазмы, а также повысить чувствительность метода резонансной интерферометрии. В частности, минимально обнаружимая концентрация атомов натрия в .плазме дугового разряда составляла 1013 см-3 ( при толщине слоя 5 см), что достигалось при отстройке длины волны зондирующего излучения от центра линии поглощения длинноволновой составляющей резонансного дублета на 0,1 нм.
Определенный физически интерес представляют исследования в области динамической резонансной голографии с применением лазеров
- 209 -
на красителях. Как известно, регистрирующим материалом для записи динамических голограмм является среда, оптические свойства которой достаточно быстро и обратимо изменяются под действием электромагнитного излучения. В качестве таких сред, как правило, используются жидкости /16/ , кристаллы /17/, полупроводники /18/.
Исследования при помощи лазера с перестраиваемой частотой излучения позволили определить условия записи динамических амплитудно-фазовых голограмм в новом классе регистрирующих сред -газообразных средах (на примере паров натрия) /19/. Ясно, что амплитудно-фазовый рельеф, который записывается в парах в случае подстройки частоты излучения лазера к используемым атомарным переходам, будет достаточно высок, что соответствует повышению чувствительности среды к записи динамических голограмм. Оптическая схема установки для записи таких голограмм приведена на рис.11.

Рис.11. Схема записи динамических голограмм с использованием резонансного поглощения в парах натрия. а - вид сверху, б - сбоку.
Источником излучения служил лазер на растворе родамина 6G с лазерной накачкой, настроенный на резонансный дублет натрия 589 и 589,6 нм. Записывающие динамическую решетку пучки формировались в интерферометре Маха-Цендера 1, настроенном на горизонтальные полосы в белом свете. Область локализации этих полос проецировалась в середину кюветы 4 с парами натрия. Полуширина спектра генерации составляла ~ 1 нм., длительность импульса ~ 15 нсек.,
- 210 -
плотность излучения создававших динамическую решетку пучков варьировалась в пределах 105-106 ватт/см2. При углах схождения исходных пучков и толщинах слоя паров натрия, соответствующих записи "тонких" динамических решеток на выходе кюветы, появлялись дополнительные пучки (см. рис.12),

Рис.12. Спектрограммы излучения, выходящего из кювета. а - распределение интенсивностей пучков в отсутствии паров натрия; б - при концентрации паров натрия 1014 см-3; в - при той же концентрации паров натрия с введением дополни -тельной разности хода 2 мм.
которые наблюдались как с длинноволновой, так и с коротковолновой по отношению к обоим компонентам дублета натрия сторонах спектра. Эти пучки имели характерные провалы в окрестности длины волны , для которой показатель преломления паров натрия не зависит от их концентрации и равен единице. Было установлено, что наблюдаемые высшие дифракционные порядки возникали вследствие записи динамических амплитудно-фазовых решеток в парах натрия, появляющихся в результате поглощения излучения исходных пучков на длинах волн, лежащих в пределах резонансных линий натрия. Оптимальные условия для записи плоских амплитудно-фазовых динамических голограмм в
- 211 -
парах натрия выполнялись при концентрации паров 1014 см-3, углах схождения ~ 4х10-3 рад, плотности формируемого излучения 106 ватт/см2.
Исследования, проведенные рядом авторов как в нашей стране, так и за рубежом позволяют сделать вывод о перспективности использования лазеров на растворах органических красителей в голографии и голографической интерферометрии. Дальнейшее усовершенствование лазерных систем на красителях должно идти в направлении увеличения мощности (энергии) их излучения и стабилизации частоты, что, по мнению специалистов, является вполне осуществимой задачей .
Лите р атура
1. Материалы I Всесоюзной конференции, "Лазеры на основе сложных органических соединений". Минск, 1975.
2. Материалы II Всесоюзной конференции "Лазеры на основе сложных органических соединений и их применение". Душанбе, 1977.
3. F.G.Wu, R.E.Girove, S.Esekie, Appl.Phys.Lett., 25, N1, 73, 1974.
4. С.П.Андреев, С.А.Батище, В.С.Мезин, З.А.Мостовников, В.С.Моткин, П.И.Мышалов. Тезисы докладов на I Всесоюзной конференции "Оптика лазеров", Л., стр.358, 1977.
5. Д.И.Стаселько, В.Л.Стригун. Сб. Оптическая голография. ЛДНТП, стр.31, 1974.
6. Ю.И.Островский, Л.В.Танин. Об. Оптическая голография. ЛДНТП, стр.34, 1974; Журнал технической физики. 45, 1755, 1975.
7. Г.В.Дрейден. Ю.И.Островский, Е.Н.Шедова. Оптика и спектроскопия, 32, 2, 367, 1972.
8. Д.И.Стаселько, Ю.Н.Денисюк. Оптика и спектроскопия, 28, 2, 323, 1970.
9. А.В.Аристов, Д.А.Козловский, Д.И.Стаселько, В.Л.Стригун. Тезисы докладов на I Всесоюзной конференции "Оптика лазеров", Л., 1977.
10. А.В.Аристов, Д.А.Козловский, Д.И.Стаселько, В.Л.Стригун. Оптика
- 212 -
и спектроскопия, 43, 4, 801, 1977.
11. Л.В.Танин. Автореферат канд. диссертации, Минск, 1976.
12. Р.Кольер, К.Беркхарт, Л.Лин. Оптическая голография. М., "Мир", 1973.
13. Schmidt W., Vogel A., Preussler D., Appl.Phys., 1, 103, 1973.
14. Ю.И.Островский, Л.В.Танин. Сб. Материалы II Всесоюзной конференции, "Лазеры на основе сложных органических соединений и их применение", стр.331, Душанбе, 1977.
15. Г.В.Дрейден, А.Н.Зайдель, Г.В.Островская, Ю.И.Островский, Н.А.Победоносцева, Л.В.Танин, В.Н.Филиппов, Е.Н.Шедова. Физика плазмы, 1, 462, 1975.
16. Е.В.Ивакин, А.С.Рубанов. ЖСП, 15, 3, 543, 1971.
17. К.К.Шварц, Я.Ж.Кристапсон. Сб. Регистрирующие среды для голографии, стр.137, Л., "Наука", 1975.
18. Ю.Вайткус, Ю.Висцанас, К.Ярошюнас. Квантовая электроника, 2, 9, стр.2068, 1975.
19. Ю.И.Островский, В.Г.Сидорович, Д.И.Стаселько, Л.В.Танин. Письма в Журнал технической физики, 1, 1030, 1975.
|
|
|
|
|
 |
 |
 |
 |
|
Copyright
© 1999-2004 MeDia-security,
webmaster@media-security.ru
|
|
|